黃銅是以鋅為主要合金元素的銅-鋅合金。按其成分不同,可分為普通黃銅和特殊黃銅兩類。
①普通黃銅
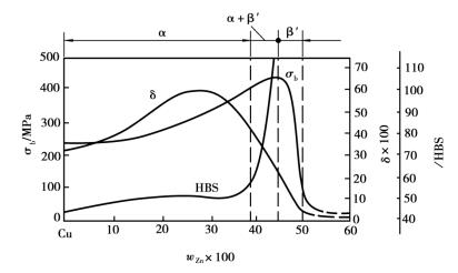
普通黃銅是銅與鋅組成的二元合金。當鋅的質量分數小于32%時,鋅能全部溶入銅中形成單相α固溶體(又稱α黃銅或單相黃銅)。隨著含鋅量的增加,由于產生固溶強化,黃銅的強度、硬度提高,同時還具有良好的塑性,故適宜于冷變形加工。當鋅的質量分數為32%~45%時,合金為α+β′兩相組織(又稱雙相黃銅),其中β′相是以電子化合物CuZn為基的固溶體,由于β′相的出現,在強度繼續升高的同時,塑性有所下降,故適宜于熱變形加工。當鋅的質量分數大于45%以后,因組織中全部為脆性的β′相,致使黃銅的強度和塑性都急劇下降,在生產中已無實用價值。黃銅的力學性能與含鋅量的關系如圖1.5.7所示。

圖1.5.7 黃銅的力學性能與鋅的質量分數的關系
普通黃銅的耐蝕性優于鋼鐵材料。但鋅的質量分數大于7%(尤其是含鋅20%)并經冷變形加工后的黃銅,因制品內有殘余應力,在潮濕大氣或海水中,特別是在含有氨的介質中,易產生應力腐蝕現象。故在使用前應采用低溫去應力退火(250~300℃,1~3 h)消除應力。
②特殊黃銅
為了進一步提高黃銅的力學性能和工藝性能,常在普通黃銅的基礎上加入銅、鋁、硅等元素組成鉛黃銅、鋁黃銅、硅黃銅等。其中鉛的加入可以改善切削加工性和耐磨性;硅的加入可以改善鑄造性能,并對提高強度和耐蝕性有利;鋁的加入在提高強度、硬度、耐蝕性的同時,還可以降低黃銅的應力腐蝕傾向。
常用黃銅的力學性能及用途見表1.5.13。
表1.5.13 常用黃銅的力學性能及用途

贊 0













